返回 首页 > 新闻中心
百事50亿收购本土品牌百草味
来源:中国网络新闻 作者:捷先知产 时间:2020-03-05
近日,百事出资7.05亿美元(约合人民币50亿元)收购本土零食品牌「百草味」,此消息一经爆出,就引发网友的广泛关注。对于这桩一度“出圈”被刷上新浪热搜榜的收购,大家有着众多疑问:是什么促成了这次「百草味」的“转嫁”?百事为何要收购「百草味」? 2020年开年的举措,对于未来各方来说,会是一场“多赢”的生意吗?
(图片来源:京东商城旗舰店)
第一次联姻:好想你“大胆”斥资9.6亿收购「百草味」
好想你创立于1992年,主要从事红枣、冻干产品、坚果、果干等健康食品的研发、采购、生产和销售,于2011年在深交所中小板上市。
「百草味」创立于2003年。2016年8月,好想你看好「百草味」所处的休闲零食电商行业具有庞大的潜在市场容量和良好的发展前景,发布公告,斥资9.6亿元的价格收购「百草味」母公司杭州郝姆斯食品有限公司100%全部股权。被当时的舆论称之为“国内零售电商并购第一案。”
事实上,这笔收购案之所以关注度那么高,一个重要的原因是,当时好想你的营收规模为11亿元,而对方的营收已经是10个亿。
不过,幸运的是,好想你,赌 赢 了。
根据业绩快报显示,好想你的总营业收入为59.61亿元,其中「百草味」的营业收入为50.23亿元。也就是说,仅仅用了三年时间,「百草味」的营收规模足足增长了4倍多。简单估算,9亿买入近50亿卖出,一出一入间好想你便赚得40亿元,这桩交易较为划算。好想你出售「百草味」可以获得大笔现金,用来进一步投资,甚至有可能在未来出售壳资源,未来好想你的战略应该会发生比较大的转变。

(图片来源:京东商城页面)
第二次联姻:百事为何要收购「百草味」?
“「百草味」丰富的产品品类、轻资产和聚焦电商的模式与我们中国的现有业务高度互补。”百事公司大中华区首席执行官柯睿楠表示,“「百草味」卓越的直营终端消费者能力将助力百事实现线上市场的增长”。
他还表示,「百草味」卓越的直营终端消费者能力将助力百事实现线上市场的增长。同时,也能通过「百草味」本土品牌的特色为百事带来多元化的产品组合,适合于线上线下多渠道分销。
可以看出,在收购「百草味」这件事上,百事公司看重的并不是「百草味」能赚多少钱,而是它在线上的销售实力。

「百草味」线上销售能力实际如何?
数据显示,「百草味」的线上销售收入占到了整体收入的九成以上。2018年和2019年,「百草味」分别收入39亿元和50亿元,电子商务业务的收入分别占到95.22%和95.64%。交易完成后,上市公司的营收将大幅下降,降幅82.31%;但净利润受到投资收益影响,有较大幅度的提升,增长1,355%。
但相比之下,全球饮料巨头百事的业绩却增长乏力。
2019年,百事营收为671.61亿美元,同比增长3.9%,但净利润为73.14亿美元,同比下滑42%。有分析甚至认为,百事饮料的存在感越来越弱,在新产品创新、渠道投入等各方面都显出了疲态。
知识产权令「百草味」“如虎添翼”,身价一涨再涨!
如果说百事加码休闲零食市场是其战略所在,那为什么偏偏选择了「百草味」呢?究其原因,企业良好的无形资产,早已成为企业收购审核标准中的重中之重。
「百草味」是中国休闲零食三大品牌之一,在近几年不断发展壮大的过程中,「百草味」还布局了大量的知识产权。百事公司斥资近50亿收购「百草味」,还包括了「百草味」旗下所有的知识产权。
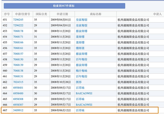
根据查询,早在2006年,「百草味」母公司杭州郝姆斯食品有限公司就开始布局「百草味」商标了,可为先见之明,布局干净利落,知识产权没有争议的品牌,自然成为了巨头眼中品相最好的收购对象。在郝姆斯公司名下,目前已知的商标已有467件信息,包括“百草味”、“百味草”、“味百草”这些防御型的近似商标等等。
从网络数据看,杭州郝姆斯食品有限公司还布局了40项专利,包括了多项发明专利,实用新型专利、外观专利。
另外,郝姆斯公司名下还有20件作品著作权,1件软件著作权。
所以,通过「百草味」对知识产权的持久保护再一次印证了:知识产权是一个企业做大做强的根基,知识产权将会是企业发展道路上巨大的财富。
随着社会的发展,休闲零食已经成了人们的第四餐。在看似不起眼的小零食背后,其实是个万亿级的大生意。根据去年商务部发布的《消费升级背景下零食行业发展报告》显示,中国目前零食行业年总产值已达到22156.4亿元。
业内也有一些声音,对「百草味」的前景表示担忧:“随着行业‘老大’「三只松鼠」上市,‘老二’「良品铺子」近日也在淘宝直播官宣上市A股。‘老三’「百草味」的地位非常尴尬,稍有不慎就可能被甩在身后,而此次虽然找到了百事这样外资巨头作靠山,但前景依旧堪忧,甚至很可能因为外资入主后水土不服而进一步掉队。”
井喷的零食市场,带来的是巨大的市场机遇和异常激烈的竞争。百事与「百草味」此举是“修成正果”,“双百”强强联盟,多方共赢,还是百草味业绩瓶颈,甚至大势已去,好想你出售套现另谋他路?「百草味」和零食市场的未来,让我们拭目以待吧。
- END -
*请将您需要解答的疑问告诉我们的客服,我们将安排专业顾问为你办理业务。代理顾问QQ:648088824
*文中相关图片来源网络,版权归属原作者所有。若有任何相关问题请致电:010-80255570
友情链接
中国商标网商标评审委员会 国家版权局国家知识产权局中华商标协会专利复审委员会 美国商标专利局英国知识产权局香港知识产权署人民网知识产权频道国家知识产权战略网中国保护知识产权网第一中级人民法院网世界知识产权组织欧洲专利局欧盟注册局德国专利商标局
| Copyright © 1998 - 2019 北京捷先知识产权代理有限公司 All rights reserved 京ICP备14044781号-1 主管单位:国家市场监督管理总局(原工商行政管理总局) | 技术支持:北京青梅 |













